
Mientras la tendencia de los teléfonos actuales se sigue manteniendo en las pantallas grandes, Samsung sigue explorando la idea de crear equipos con pantallas altamente flexibles y enrollables.
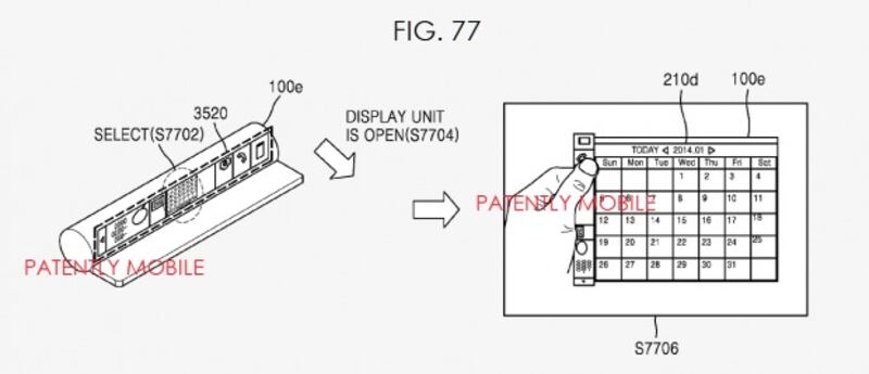
De acuerdo a documentos enviados a la Oficina de Patentes de Estados Unidos, la compañía coreana buscaría desarrollar teléfonos con pantallas OLED que pudiera enrollarse, doblarse como cartera, o adoptar otras formas para ser más portátiles, permitiendo incluso que la interfase se adapte a la pantalla, mostrando por ejemplo una barra de íconos o notificaciones mientras el resto se encuentra doblada.
Por supuesto, estas patentes no aseguran que veamos algún producto final con dichas características, pero sin duda son ideas muy interesantes que seguramente serían muy gustadas. ¿Estamos en la antesala de una tendencia futura?






Sí, no deja de resultar curioso que en una de las imágenes se haya incluido un ícono con el nombre de 'iPod'.

